Проверка осевого зазора в подшипнике ступицы
1. Поддомкратьте переднюю часть автомобиля и установите ее на подставки.
Таблица. Углы установки колес.
| Углы установки | Величина | |
| Передние колеса | ||
| Схождение | 0±3 мм | |
| Углы поворота колес | Внутреннее колесо | 40°00'±2°*1 38°00'+2° *2 |
| Внешнее колесо | 31°00' *1 30°00' *2 | |
| Продольный наклон оси поворота* | 1°40'±1° (2WD) 1°35'±1° (4WD) | |
| Развал* | 0°00'±45' (2WD) 0°30'±45' (4WD) | |
| Задние колеса | ||
| Схождение | 2±2 мм | |
| Развал* | -0°40'+45' (2WD) -0°35'±45' (4WD) | |
Примечание:
- разница между правой и левой стороной не должна превышать 1°.
- *1 - модели 2WD с двигателем D15В;
- *2 - модели 2WD с двигателем D17A, модели 4WD и 5-ти дверные модели выпуска с 10.2001 г.
2. Для удержания тормозного диска (барабана) заверните гайки установленным моментом.
Момент затяжки — 108 Н·м
3. Установите стрелочный индикатор на ступицу колеса, как показано на рисунке.

4. Толкая и дергая ступицу колеса руками в осевом направлении, измерьте величину осевого зазора в подшипнике колеса.
Зазор в подшипнике — 0-0,05 мм

Если осевой зазор колеса превышает установленную норму, сначала затяните гайку ступицы установленным моментом затяжки и только после этого, если необходимо, замените подшипник.
Снятие
1. Поддомкратьте переднюю часть автомобиля и установите ее на подставки.
2. Отверните гайки крепления колеса и снимите колесо.

3. Отверните болт крепления кронштейна тормозной трубки (В).

4. Отверните болты и снимите тормозной суппорт в сборе (А).
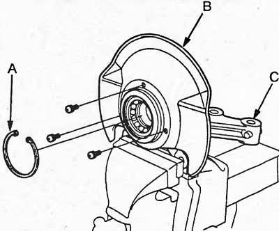
5. Расконтрите ободок (В) гайки и отверните гайку (А).

6. Отверните винты (А), затем снимите тормозной диск (В).
Примечание: для снятия диска заверните болты, как показано на рисунке. Заворачивайте болты поочередно на 2 оборота.

7. Отверните болт и снимите датчик (А) частоты вращения колеса.
Примечание: не отсоединяйте разъем датчика частоты вращения колеса.

8. Удерживая палец (А) шаровой опоры шестигранным ключом (В), отверните гайку крепления стойки стабилизатора. Отсоедините стойку (D) стабилизатора от нижнего рычага (С) передней подвески.

9. Снимите шплинт и отверните гайку. При помощи спецприспособления отсоедините шаровую опору нижнего рычага передней подвески от поворотного кулака.
Примечание: при сборке установите шплинт, как показано на рисунке.
Снятие и установка поворотного кулака и ступицы. 1 - поворотный кулак, 2 - грязезащитный щиток, 3 - тормозной диск, 4 - ступица, 5 - стопорное кольцо, 6 - подшипник.

10. Отверните болты и гайки крепления стойки передней подвески.

11. При помощи пластикового молотка ослабьте посадку приводного вала. Разъедините приводной вал (А) и поворотный кулак со ступицей (В).
12. При помощи пресса и спецприспо-собления выпрессуйте ступицу из поворотного кулака.

13. Если внутреннее кольцо подшипника осталось на ступице, то при помощи спецприспособления (А) и пресса снимите внутреннее кольцо (В) со ступицы (С).

14. Снимите стопорное кольцо (А), отверните винты и снимите грязезащитный щиток (В) с поворотного кулака (С).

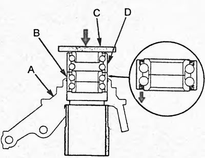
15. При помощи пресса и оправки выпрессуйте подшипник (В) из поворотного кулака (А).

Установка
1. Установите новый подшипник (В) в поворотный кулак (А), затем установите старый подшипник (D) и стальную пластину (С), как показано на рисунке, и запрессуйте подшипник.

2. Установите стопорное кольцо (А) в поворотный кулак (D).

3. Установите грязезащитный щиток (С) на поворотный кулак и заверните винты (В).
Момент затяжки — 9 Н·м
4. При помощи спецприспособлений и пресса запрессуйте ступицу (В) в поворотный кулак (А).

5. Установите ступицу в сборе с поворотным кулаком в порядке, обратном снятию. Примечание: после установки проверьте и, при необходимости, отрегулируйте углы установки колес.
Оригинал статьи на веб-ресурсе hondabook.ru
