
2. Установите ступицу синхронизатора З-ей/4-ой передач (А), распорную втулку (В), ступицу синхронизатора 5-ой передачи (С), распорную втулку (D) и шарикоподшипник (Е) на вторичный вал (F), затем установите эти компоненты в сборе в картер коробки передач (G).

3. Установите шайбу (Н) на вторичный вал.
4. Измерьте расстояние [а] между торцом картера коробки передач и шайбой при помощи линейки и штангенциркуля. Проведите измерение в трех местах и усредните эти показания.
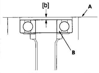
5. Измерьте расстояние [b] между торцом картера сцепления (А) и внутренним кольцом подшипника (В) при помощи линейки и глубиномера. Проведите измерение в трех местах и усредните эти показания.
![5. Измерьте расстояние [b] между торцом картера…](https://www.hondabook.ru/img/cr-v/2193.jpg)
Формула подбора регулировочной шайбы
6. Подберите требуемую регулировочную шайбу 72 мм из таблицы. Возьмите приведенный ниже пример за образец и используйте результаты измерений, полученные в пп. 4 и 5:
Основная формула
[а] + (Ь] - (0,8 + 0,11) = толщина регулировочной шайбы (максимум)
[а] + [Ь] - (0,8 + 0,17) = толщина регулировочной шайбы (минимум)
- Прибавьте расстояние [Ь] (п. 5) к расстоянию [а] (п. 4).
- 0,8 мм: Пружинная шайба, размер которой учитывается при сборке.
- 0,11 мм: Минимальный упорный зазор.
- 0,17 мм: Максимальный упорный зазор.
Например
2,32 + 0,15 - (0,8 + 0,11) = 1,56 мм
2,32 + 0,15 - (0,8 + 0,17) = 1,50 мм
Возьмите среднее между минимальным и максимальным значениями и подберите регулировочную шайбу толщиной 1,53 мм.
Регулировочная шайба 72 мм
| Номер по каталогу | Толщина | |
| А | 23931-Р21-000 | 0,60 мм |
| В | 23932-Р21-000 | 0,63 мм |
| С | 23933-Р21-000 | 0,66 мм |
| D | 23934-Р21-000 | 0,69 мм |
| Е | 23935-Р21-000 | 0,72 мм |
| F | 23936-Р21-000 | 0,75 мм |
| G | 23937-Р21-000 | 0,78 мм |
| Н | 23938-Р21-000 | 0,81 мм |
| I | 23939-Р21-000 | 0,84 мм |
| J | 23940-Р21-000 | 0,87 мм |
| К | 23941-Р21-000 | 0,90 мм |
| L | 23942-Р21-000 | 0,93 мм |
| М | 23943-Р21-000 | 0,96 мм |
| N | 23944-Р21-000 | 0,99 мм |
| О | 23945-Р21-000 | 1,02 мм |
| Р | 23946-Р21-000 | 1,05 мм |
| Q | 23947-Р21-000 | 1,08 мм |
| R | 23948-Р21-000 | 1,11 мм |
| S | 23949-Р21-000 | 1,14 мм |
| Т | 23950-Р21-000 | 1,17 мм |
| U | 23951-Р21-000 | 1,20 мм |
| V | 23952-Р21-000 | 1,23 мм |
| W | 23953-Р21-000 | 1,26 мм |
| X | 23954-Р21-000 | 1,29 мм |
| Y | 23955-Р21-000 | 1,32 мм |
| Z | 23956-Р21-000 | 1,35 мм |
| АА | 23957-Р21-000 | 1,38 мм |
| АВ | 23958-Р21-000 | 1,41 мм |
| АС | 23959-Р21-000 | 1,44 мм |
| AD | 23960-Р21-000 | 1,47 мм |
| АЕ | 23961-Р21-000 | 1,50 мм |
| AF | 23962-Р21-000 | 1,53 мм |
| AG | 23963-Р21-000 | 1,56 мм |
| АН | 23964-Р21-000 | 1,59 мм |
| AI | 23965-Р21-000 | 1,62 мм |
| AJ | 23966-Р21-000 | 1,65 мм |
| АК | 23967-Р21-000 | 1,68 мм |
| AL | 23968-Р21-000 | 1,71 мм |
| АМ | 23969-Р21-000 | 1,74 мм |
| AN | 23970-Р21-000 | 1,77 мм |
| АО | 23971-Р21-000 | 1,80 мм |
7. Установите подобранную регулировочную шайбу 72 мм (А) и маслораздаточную тарелку М в картер коробки передач (В).

8. Перед установкой пружинной шайбы (А) и шайбы (В) на шарикоподшипник (С) со стороны картера сцепления тщательно очистите их, Соблюдайте направление установки пружинной шайбы.

9. Установите вторичный вал в картер сцепления.
10. Поставьте картер коробки передач на вторичный вал и на картер сцепления.
11. Стяните картеры коробки передач и сцепления несколькими 8-мм болтами.
Примечание. Наносить герметик между картерами не требуется.
12. Постучите по вторичному валу пластиковым молотком.
13. Закрепите слецинструмент на вторичном валу следующим образом:
- Открутите болт фиксатора вторичного вала (А) и ослабьте два болта с шестигранной головкой (В).

- Наденьте фиксатор на вторичный вал кромкой в сторону коробки передач.
- Совместите кромку фиксатора вторичного вала с канавкой на внутренней шлицевой части вторичного вала, затем затяните болты с шестигранной головкой.
14. Полностью посадите вторичный вал, постучав по его торцу пластиковым молотком.
15. Вворачивайте болт фиксатора вторичного вала, пока он чуть коснется широкой площадки у основания вторичного вала.
16. Установите индикатор (А) на нуль, уперев его головку в торец вторичного вала.

17. Вращайте болт фиксатора вторичного вала (В) по часовой стрелке, прекратите вращать, когда индикатор (А) дойдет до конца своего хода. Показание индикатора - это осевой люфт вторичного вала.
Если продолжать вращать болт фиксатора вторичного вала более, чем на 60 градусов после того, как стрелка индикатора прекратит двигаться, можно повредить коробку передач.
18. Если показания в пределах нормы, зазор правильный. Если показания отличаются от нормы, проведите повторную проверку толщины регулировочной шайбы.
Стандарт: 0,11 - 0,17 мм
