
Примечание. При сборке руководствуйтесь изображением в разобранном виде.
1. Перед сборкой очистите все детали в растворителе, просушите их и нанесите смазку на контактные участки.
2. Установите распорную втулку и игольчатый подшипник на промежуточный вал.
3. Установите трехконусный синхронизатор в сборе (А), совместив пальцы конуса синхронизатора (В) с пазами в шестерне 1-ой передачи (С), затем установите пружину синхронизатора (D).

4. Установите ступицу синхронизатора 1-ой/2-ой передач (А), совместив пальцы конуса синхронизатора (В) с пазами в ступице синхронизатора 1-ой/2-ой передач (С).

5. Установите шестерню заднего хода.
6. Установите пружину синхронизатора (А)

7. Установите трехконусный синхронизатор в сборе (В), совместив пальцы конуса синхронизатора (С) с пазами в ступице синхронизатора 1-ой/2-ой передач (D).
8. Установите распорную втулку (А) и фрикционный демпфер (В), совместив пальцы фрикционного демпфера (С) с пазами в ступице синхронизатора 1-ой/2-ой передач (D).

9. Установите игольчатый подшипник.
10. Установите шестерню 2-ой передачи (А), совместив пальцы конуса синхронизатора (В) с пазами в шестерне 2-ой передачи (С).

11. Установите промежуточный вал (А) на стальные бруски и запрессуйте шестерню 3-ей передачи (В) при помощи специнструмента и пресса (С). Не превышайте максимальное усилие посадки.

12. Запрессуйте шестерню 4-ой передачи (А) при помощи специнструмента и пресса (В). Не превышайте максимальное усилие посадки.

13. Запрессуйте шестерню 5-ой передачи (А) при помощи специнструмента и пресса (В). Не превышайте максимальное усилие посадки.

14. Запрессуйте распорную втулку (А), регулировочную шайбу 35 мм и старый шарикоподшипник (В) при помощи специнструмента и пресса (С).

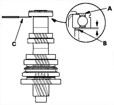
15. Измерьте зазор между старым подшипником (А) и регулировочной шайбой 35 мм (В) при помощи щупа (С).

Стандарт: 0,04-0,10 мм
16. Если зазор превышает указанную норму, подберите новую регулировочную шайбу из следующей таблицы. Если зазор, измеренный в п. 15, в пределах нормы, поставьте новый шарикоподшипник.
Регулировочная шайба 35 мм
| Номер по каталогу | Толщина | |
| А | 23981-РРР-000 | 0,87 мм |
| В | 23981-РРР-900 | 0,91 мм |
| С | 23982-РРР-000 | 0,95 мм |
| D | 23982-РРР-900 | 0,99 мм |
| Е | 23983-РРР-000 | 1,03 мм |
| F | 23983-РРР-900 | 1,07 мм |
| G | 23984-РРР-000 | 1,11 мм |
| Н | 23984-РРР-900 | 1,15 мм |
| J | 23985-РРР-000 | 1,19 мм |
| К | 23985-РРР-900 | 1,23 мм |
| L | 23986-РРР-000 | 1,27 мм |
| М | 23986-РРР-900 | 1,31 мм |
| N | 23987-РРР-000 | 1,35 мм |
| Р | 23987-РРР-900 | 1,39 мм |
| Q | 23988-РРР-000 | 1,43 мм |
| R | 23988-РРР-900 | 1,47 мм |
| S | 23989-РРР-000 | 1,51 мм |
| Т | 23989-РРР-900 | 1,55 мм |
| U | 23990-РРР-000 | 1,59 мм |
| W | 23990-РРР-900 | 1,63 мм |
| X | 23991-РРР-000 | 1,67 мм |
| Y | 23991-РРР-900 | 1,71 мм |
| Z | 23992-РРР-000 | 1,75 мм |
| АА | 23992-РРР-900 | 1,79 мм |
| АВ | 23993-РРР-000 | 1,83 мм |
| АС | 23993-РРР-900 | 1,87 мм |
| AD | 23994-РРР-000 | 1,91 мм |
| АЕ | 23994-РРР-900 | 1,95 мм |
| AF | 23995-РРР-000 | 1,99 мм |
17. Установите шарикоподшипник (А) на стальные бруски (В) и выпрессуйте промежуточный вал (Е) из шарикоподшипника при помощи пресса (С) и специнструмента (D).

18. Замените регулировочную шайбу 35 мм, выбранную в п. 16, затем проведите повторную проверку зазора.
19. Запрессуйте распорную втулку (А), регулировочную шайбу 35 мм и новый шарикоподшипник (В) при помощи специнструмента и пресса (С).

20. Затяните новый специальный болт (А) (левая резьба).

