Примечание:
- В случае замены первичного, вторичного поршня или корпуса главного цилиндра перед установкой главного цилиндра проверьте и отрегулируйте зазор нажимного штока.
- Прочистите все компоненты в тормозной жидкости и просушите на открытом воздухе; продуйте все каналы сжатым воздухом.
- Перед сборкой убедитесь, что на компонентах нет пыли и прочих посторонних частиц.
- Заменяйте детали новыми, если это предписывается указаниями.
- Пользуйтесь только фирменной тормозной жидкостью Genuine Honda brake fluid DOT3. Использование других жидкостей может вызвать коррозию и уменьшить срок службы тормозной системы.
- Не смешивайте тормозную жидкость различных марок, т.к. они могут быть несовместимыми.
- Замените главный цилиндр, если его стенки повреждены или изношены. Не пытайтесь проводить хонингование или перешлифовку стенок цилиндра.
- Нанесите чистую тормозную жидкость на манжеты поршня, пресс-масленку и стенки главного цилиндра.
- Пользуйтесь смазками рекомендуемых сортов, входящих в комплект уплотнений главного цилиндра.
1. Установите уплотнение бачка в канавку в крышке бачка.
2. Установите сетчатый фильтр, собранную крышку бачка и новые резиновые втулки на бачок.

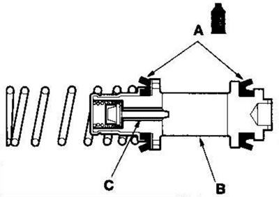
3. Нанесите чистую тормозную жидкость на манжеты (А) нового первичного поршня (В), затем вставьте первичный поршень в главный цилиндр.
Примечание. На автомобилях с системой ABS убедитесь, что шток клапана (С) перемещается плавно, слегка утопив его в пазу на клапане. Установите клапан так, чтобы паз на клапане совместился с отверстием под стопорный штифт в главном цилиндре.
С системой ABS

Без системы ABS

4. Нанесите чистую тормозную жидкость на манжету (А) нового вторичного поршня (В).

5. Нанесите рекомендуемую смазку для резины, входящую в комплект уплотнений главного цилиндра, на поверхность поршня (С), затем вставьте вторичный поршень в главный цилиндр.
6. Нанесите рекомендуемую смазку для уплотнений, входящую в комплект уплотнений главного цилиндра, на новое кольцевое уплотнение (А) и манжету вторичного поршня (В) в новой направляющей поршня (С), затем вставьте направляющую поршня в главный цилиндр. Соблюдайте направление установки.

7. На автомобилях с системой ABS совместите паз на первичном клапане с отверстием под стопорный штифт (А), утопив вторичный клапан (В) и вставьте стопорный штифт (С).

8. Установите бачок (D) на главный цилиндр.
9. Поставьте новый кольцевой зажим (А), утопив вторичный поршень (В), не поцарапайте и не повредите поверхность поршня кромками кольцевого зажима.

10. Отрегулируйте зазор нажимного штока.
11. Нанесите рекомендуемую смазку для уплотнений, входящую в комплект уплотнений главного цилиндра, на новое уплотнение штока и вставьте уплотнение в главный цилиндр.
