Оглавление: Расположение компонентов ⇊ Электросхема ⇊ Сброс стеклоподъемника двери водителя ⇊ Проверка э/двигателя…⇊ Проверка входных сигналов главного…⇊ Проверка главного переключателя…⇊ Проверка э/двигателей…⇊
Расположение компонентов

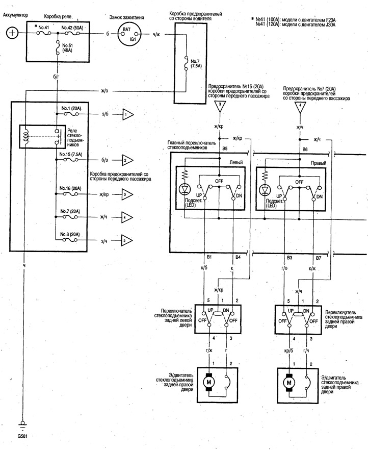
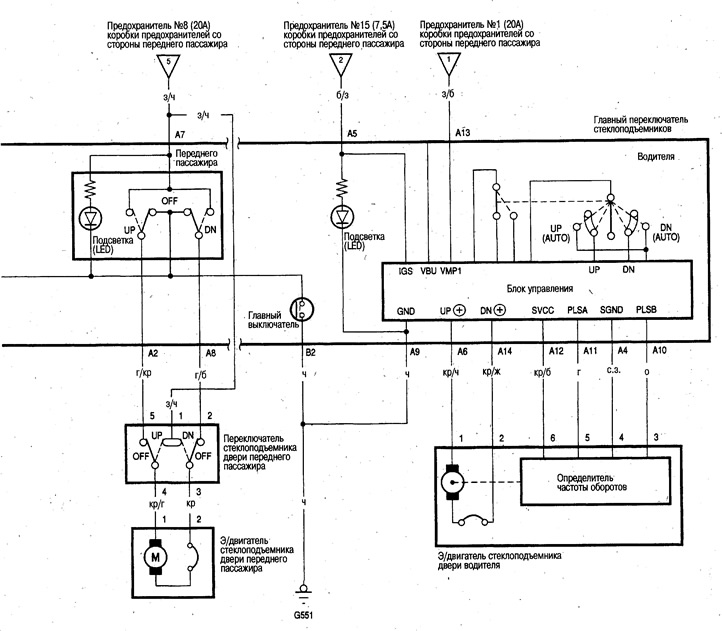
Электросхема


Сброс стеклоподъемника двери водителя
После выполнения указанных ниже работ стеклоподъемник двери водителя переходит в режим резервирования и поднимание и опускание стекла главным переключателем стеклоподъемников в автоматическом режиме становится невозможным.
Отсоединение кабелей аккумулятора.
Снятие и установка предохранителя №1 (20А) коробки предохранителей со стороны переднего пассажира.
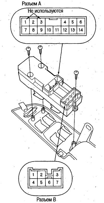
Снятие 14-контактного разъема главного переключателя стеклоподъемников.
Снятие и установка стеклоподъемника, стекла, направляющей.
Иногда система не переходит в режим резервирования при выполнении указанных выше работ, поэтому для надежного перевода системы в режим резервирования выполните действия, указанные ниже. (Если после выполнения этих действий стекло продолжает подниматься и опускаться в автоматическом режиме, выполните повторный перевод в режим резервирования).
Снимите предохранитель №1 (20А) коробки предохранителей со стороны переднего пассажира.
Поверните ключ зажигания в положение ON (II), после выдержки 1 сек. и более поверните ключ зажигания в положение OFF.
Через 5 сек и более после поворота ключа зажигания в положение OFF вставьте предохранитель.
Процедура самообучения стеклоподъемника двери водителя
1. Проверьте, правильно ли установлена дверь водителя.
2. Запустите двигатель.
3. Включите главный переключатель стеклоподъемников на опускание и полностью опустите стекло.
4. Включите главный переключатель стеклоподъемников на поднимание, полностью поднимите стекло и удерживайте переключатель оттянутым еще на 1 сек. и более.
Если после выполнения указанных действий стекло не подниматься и не опускаться в автоматическом режиме, повторите процедуру.
Проверка э/двигателя стеклоподъемника двери водителя
1. Снимите отделку двери.
2. Отсоедините 6-контактный разъем с э/двигателя стеклоподъемника.
3. Подайте напряжение от аккумулятора на контакты №1 и №2, как показано на рисунке, и убедитесь, что э/двигатель вращается плавно без аномальных звуков.
Внимание. Когда стеклоподъемник дойдет до крайних положений, немедленно отключите аккумулятор.
![]() |
![]() |
Проверка определителя вращения э/двигателя
4. Подключите 6-контактный разъем к э/двигателю стеклоподъемника.
5. Измерьте напряжение между различными контактами во время работы э/двигателя.
*: Для проверки импульсов подключите осциллограф к проверяемым контактам. Иногда требуется проверка формы импульсов.

Проверка входных сигналов главного переключателя стеклоподъемников
1. Снимите отделку двери (смотрите главу Кузов).
2. Отсоедините 14-контактный и 7-контактный разъемы от главного переключателя стеклоподъемников.
3. Открутите 2 винта и снимите главный переключатель стеклоподъемников.

4. Проверьте указанные ниже входные сигналы и, если они в порядке, а стеклоподъемники работают ненормально, замените главный переключатель стеклоподъемников.
Подключите 14-контактный разъем к главному переключателю стеклоподъемников.
Проверка главного переключателя стеклоподъемников

1. Открутите 3 винта и снимите главный переключатель с панели переключателя в сборе.
2. Проверьте проводимость между контактами в различных положениях переключателя и убедитесь, что проводимость имеется только между контактами, соединенными линиями на рисунках.
Поскольку переключатель стеклоподъемника двери водителя объединен с блоком управления, отдельная проверка переключателя невозможна. Проверьте входные сигналы на контактах А4, А6, А9, А10, А11, А12, А13, А14 главного переключателя стеклоподъемников и, если все в порядке, а стеклоподъемник двери водителя работает ненормально, значит неисправен переключатель стеклоподъемника двери водителя.
Переключатель стеклоподъемника двери переднего пассажира
Переключатель стеклоподъемника задней правой двери
Переключатель стеклоподъемника задней левой двери
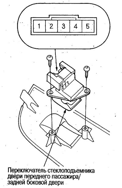
Переключатели стеклоподъемников двери переднего пассажира/ задних боковых дверей
1. Снимите отделку двери переднего пассажира/задней боковой двери (смотрите главу Кузов).
2. Отсоедините 5-контактный разъем от переключателя.
3. Проверьте проводимость между контактами в различных положениях переключателя и убедитесь, что проводимость имеется только между контактами, соединенными линиями в таблице.
![]() |
![]() |
Проверка э/двигателей стеклоподъемников двери переднего пассажира/задних боковых дверей
1. Снимите отделку двери (смотрите главу Кузов).
2. Отсоедините 2-контактный разъем э/двигателя.
3. Подайте напряжение аккумулятора между контактами №1 и №2, как показано на рисунке, и проверьте, плавно ли вращается двигатель без посторонних звуков.
Внимание. По достижении положения срабатывания концевого выключателя сразу же отключайте аккумулятор.
![]() |
![]() |
[Оригинал материала на сайте HondaBook.ru]






