
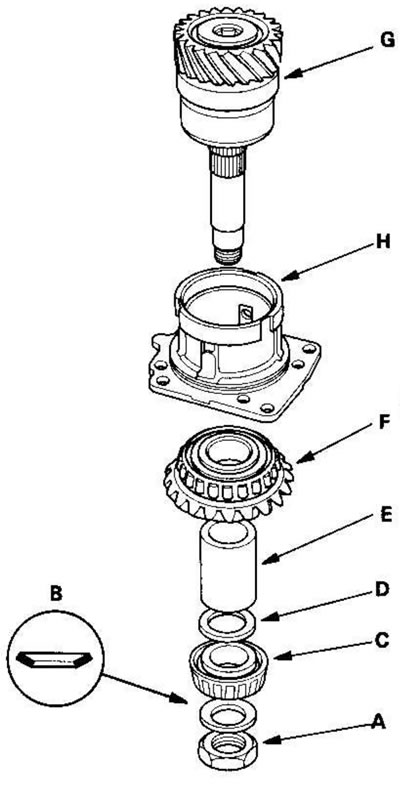
2. Зафиксируйте вал раздаточной коробки (А) 14-мм гаечным ключом (В), зажатым в тисках, затем ослабьте контргайку.

3. Открутите контргайку (А), снимите коническую пружинную шайбу (В), конический роликоподшипник (С), упорную шайбу 25 мм (D), распорную втулку вала раздаточной коробки (Е), ведущую шестерню раздаточной коробки (F) и вал раздаточной коробки в сборе (G) с держателя раздаточной коробки (Н).

