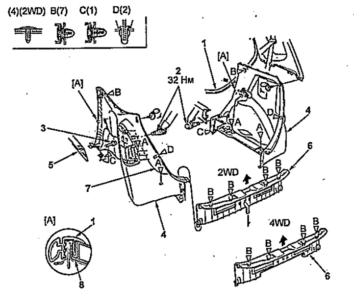
Боковая отделка багажного отделения.
1 - уплотнитель задней боковой двери,
2 - нижнее крепление ремня безопасности заднего сиденья,
3 - разъем,
4 - боковая отделка багажного отделения,
5 - отделка порога задней боковой двери,
6 - задняя отделка багажного отделения,
7 - втулка (модели с правым рулем и 4WD),
8 - крепеж.
2. Установка производится в порядке, обратном снятию.
